Варочная Поверхность Kuppersberg ICO 302 — 192 отзывов, плюсы и минусы
Средняя цена в магазинах 13 569 ₽
Обзор реального опыта использования Kuppersberg ICO 302 - анализ 192 отзывов
👍Почему стоит купить Kuppersberg ICO 302 - Преимущества по отзывам пользователей
- Мгновенный нагрев в режиме Boost:
- Режим Boost обеспечивает кипячение 1–1,5 литра воды за 1–2 минуты, что быстрее газовых плит и электрочайников.
- Используется импульсный алгоритм работы, что повышает КПД и сокращает время приготовления.
- Особенно эффективен для быстрого приготовления блюд вроде пельменей или кипячения воды для кофе.
- Точное и отзывчивое сенсорное управление:
- Сенсор реагирует даже на легкие касания, исключая случайные нажатия.
- 9 уровней мощности позволяют гибко регулировать температуру, избегая перегрева или недостаточного кипения.
- Индикация остаточного тепла повышает безопасность при контакте с поверхностью.
- Эффективная система охлаждения:
- Встроенный вентилятор предотвращает перегрев электроники, продлевая срок службы.
- Для корректной работы требуется зазор 1–2 см между столешницей и панелью.
- Шум вентилятора заметен, но пользователи отмечают его умеренность при правильной установке.
- Безопасность для семей с детьми:
- Функция блокировки панели предотвращает случайные включения.
- Стеклокерамика нагревается только в зоне контакта с посудой, оставаясь безопасной для прикосновений.
- Автоотключение срабатывает при закипании или отсутствии посуды более 30 секунд.
- Простота очистки:
- Гладкая поверхность устойчива к царапинам и не впитывает жир.
- Даже пригоревшие остатки удаляются без абразивных средств.
- Отсутствие рельефных элементов упрощает уход.
- Компактность и универсальная установка:
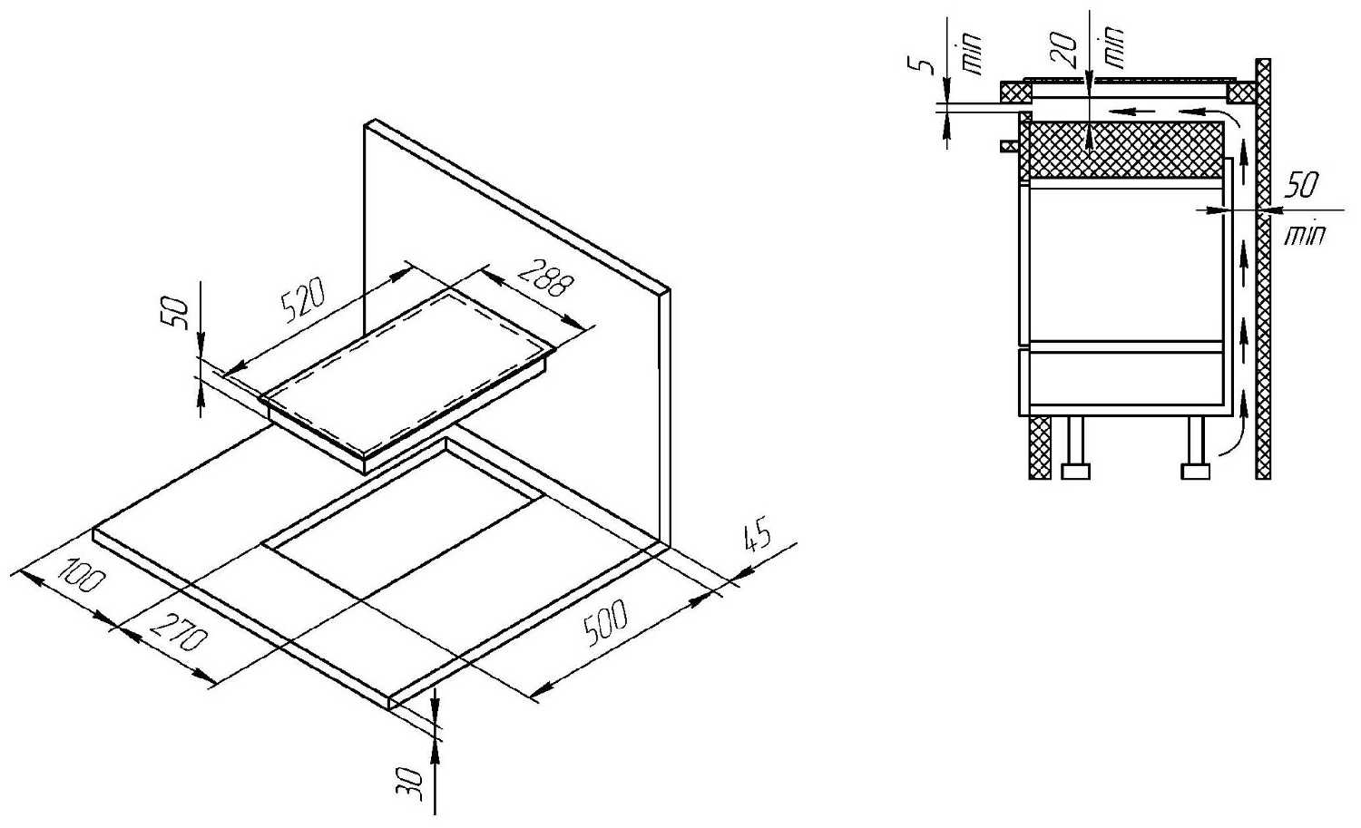
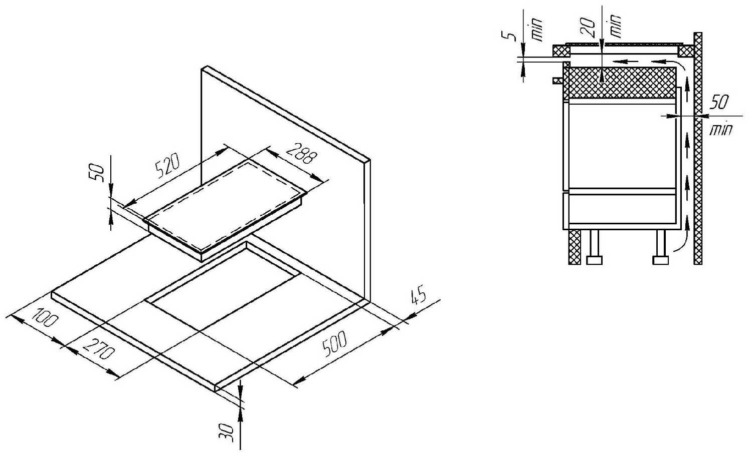
- Габариты 495×265 мм подходят для маленьких кухонь и студий.
- Возможна установка на ножки (в комплекте) или встраивание в столешницу.
- Вес 5.2 кг облегчает транспортировку и монтаж.
- Энергоэффективность:
- Потребление в режиме Boost — до 3.5 кВт, но средний расход ниже за счет быстрого нагрева.
- Импульсный режим на малых мощностях (1–4 уровень) снижает энергопотери.
- Автоотключение через 1–180 минут (в зависимости от настроек) исключает холостой расход электричества.
👎О чем стоит задуматься перед покупкой - Недостатки по отзывам пользователей
- Шум в дежурном режиме и при работе:
- Трансформатор издает высокочастотный свист при подключении к сети, даже в выключенном состоянии.
- Вентилятор работает на постоянной скорости, создавая гул, сравнимый с компьютерным кулером под нагрузкой.
- После отключения вентилятор продолжает работать 1–2 минуты, что может раздражать.
- Ограниченная совместимость с посудой:
- Тонкодонные сковороды вызывают импульсный нагрев, приводящий к подгоранию внешнего края и сырой середине.
- Минимальный диаметр дна — 12 см, иначе конфорка не активируется.
- Старая эмалированная посуда может работать нестабильно.
- Проблемы с равномерностью нагрева на низких мощностях:
- На уровнях 1–4 нагрев происходит импульсами (2–10 секунд), что мешает тушению.
- Температура нестабильна для рецептов, требующих точного поддержания тепла (например, шоколадные соусы).
- Отсутствие «плавного» режима, как в премиальных моделях.
- Неудобное расположение кнопок:
- Кнопка блокировки расположена рядом с включением, что приводит к случайным активациям.
- Отсутствие подсветки клавиш в темноте.
- Сенсор может не реагировать при попадании влаги или жира.
- Короткий сетевой шнур:
- Длина кабеля — 1.2 м, что ограничивает варианты размещения.
- Нет возможности отсоединения шнура для скрытого монтажа.
- Пользователи вынуждены использовать удлинители, нарушая эстетику.
- Риск перегрева при плотной установке:
- При встраивании в узкую нишу без вентиляционных зазоров возможны сбои электроники.
- Некоторые пользователи отмечают отключение конфорок через 20–30 секунд из-за перегрева.
- Резинка-уплотнитель в комплекте недостаточной длины для герметизации стыков.
- Качество сборки:
- У части моделей наблюдаются дефекты: провода, задевающие лопасти вентилятора, отслоение краски на ручках.
- Светодиоды блокировки могут выходить из строя через 5–6 месяцев.
- Стеклокерамика треснула у одного пользователя от удара рюмкой, ремонт дорогостоящий.
*Плюсы и минусы, которые пользователи называют чаще всего на основе практического опыта использования.
192 отзывов пользователей о Kuppersberg ICO 302
Пользовались
Kuppersberg ICO 302?
Поделитесь своим опытом и помогите другим сделать правильный выбор
- + Очень быстро греет, мощность с запасом
- - Нет режима расширения площади конфорок - большая посуда влезает с трудом
По сравнению с моей indesit , эта греет гораздо быстрее, к тому же мощность тут явно выше, использую более "низкие" режимы при готовки на ней
Но всё-таки для такой маленькой плиты режим совместной работы конфорок - это маст хэв, пожалел, что не подумал об этом раньше, большая посуда сюда влезает с трудом, потому что кнопки отнимают хороший кусок поверхности.
Не перегревается, шумит - да, возможно, но меня шум во время готовки мало волнует, а после нее вентиляторы довольно быстро охлаждают внутрянку.
В общем, пока что плитой доволен, надеюсь, керамика тут прочная, за свои деньги, считаю, достойный вариант
- + Внешний вид, инвертор, можно пользоваться и без встраивания
- + На первый взгляд, модель хорошая. Сама плита пришла целая. Установили, пока не пользовались
- - Упакована не очень хорошо. Сама коробка от техники заклеена скотчем. То есть ранее вскрывалась. Возможно, был возврат либо при транспортировке открылась коробка. В любом случае, продавцу следует лучше упаковывать технику
- + Есть ножки и вилка, можно использовать временно, пока не встроили в кухонный гарнитур.
- - Шумная, но это недостаток всех индукционных плит. Нет общей зоны нагрева.
- + быстро греет
постоянный нагрев - - шумноват вентилятор охлаждения.
- + индукционая инвекторная плитка на 2 варочные места.
работает со всей посудой которая у меня есть для идукционных плит. простая в использовании. - - Их пока не обнаружил? приобрёл пока как пару дней назад. Через месяц пользования можно будет добавить.
- + Стильная, компактная, цена с повышенным кэшбеком и акцией просто супер 🥰 подключила и проверила все работает)
- - Не заметила, тк только купила и еще не устанавливала в гарнитур
- +
Быстро нагревает, покупал еще в 2021 году за 9к. своих денег стоит
маленькая компактная работает от розетки, есть ножки чтро бы просто поставить на стол как в моем случае. Если что-то проливается, уходит в защиту и отключается. Есть режим буст, вода вскипает моментально
- -
Маленькое расстояние между плитками это и плюс и минус.
купил 3.11.2021 сейчас 23,03,2024 не снимается с защиты от детей.
В целом не плохой варант был за свои деньги. В целом 3 из 5 за шум и вот этот прикол с защитой от детей.
Как менялась цена на Kuppersberg ICO 302
Характеристики Kuppersberg ICO 302
Информация о характеристиках носит справочный характер.
Перед покупкой уточняйте характеристики и комплектацию товара у продавца











