Щетка мотора отопителя — 5 отзывов, плюсы и минусы
5 отзывов пользователей о KRAUF Щетка мотора отопителя
Пользовались
KRAUF Щетка мотора отопителя?
Поделитесь своим опытом и помогите другим сделать правильный выбор
- + Отличные щетки , встали как родные
- - Нет
- - неподошло
Как менялась цена на KRAUF Щетка мотора отопителя
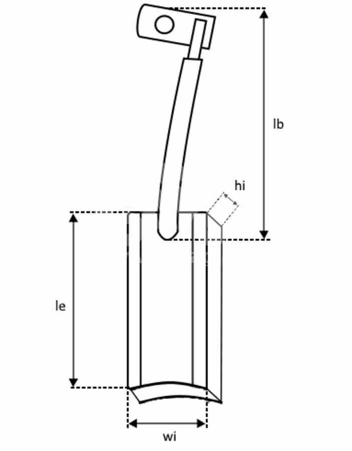
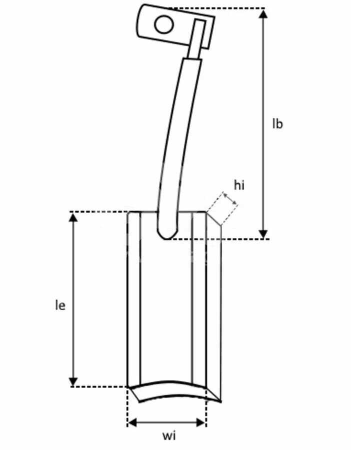
Характеристики KRAUF Щетка мотора отопителя
| Общие характеристики | |
| Количество : | 1 шт. |
| Тип крепления : | специальное (Special) |
Информация о характеристиках носит справочный характер.
Перед покупкой уточняйте характеристики и комплектацию товара у продавца










